Logo Therebreathersite Tell'em I tried to beach her RSS feed
 
Donate Home Menu page Search page
These last words of captain Foote started a 100+ years search for the gold of SS Islander 22 September 2013
Carl Haven Wiley Diving Bell was an invention by Carl Haven Wiley and Elbert H. Wiley owners of the Curtis-Wiley Marine Salvors, Sealttle Washington.
         
This story about a huge salvage operation in 1933. My story started in the beginning of 2000 when a friend of me handed over a couple of pictures showing all kind of old diving gear. One of these pictures he bought in Paris and was in black and white showing a very unusually diving apparatus with an arm or grab. On the backside of that picture there was a note typed with an old style typewriter showing this text:
         
 
 
The picture itself shows a very unusual form of a diving apparatus hanging on the side of a ship. I was highly interested in the story about this apparatus, but until now I was not able to find all details about this machine. In May 2013 Charles Daigneault from Canada wrote me and told me about the story of the SS Islander. He also made fantastic 3-D impressions of this Wiley diving apparatus. But we should start in the beginning.......
 
 

The Klondike Gold Rush, also called the Yukon Gold Rush, the Alaska Gold Rush, the Alaska-Yukon Gold Rush and the Last Great Gold Rush, was a migration by an estimated 100,000 prospectors to the Klondike region of the Yukon in north-western Canada between 1896 and 1899. Gold was discovered here on August 16, 1896 and, when news reached Seattle and San Francisco the following year, it triggered a "stampede" of would-be prospectors. The journey proved too hard to many and only between 30,000 and 40,000 managed to arrive. Some became wealthy; however, the majority went in vain and only around 4,000 struck gold. The Klondike Gold Rush ended in 1899 after gold was discovered in Nome, prompting an exodus from the Klondike. It has been immortalized by photographs, books and films. (source Wikipedia).

 August 19 1901 this Klondike gold was transported by the SS Islander belonging to the mighty Canadian Pacific Navigation Company.
At 2:05 a.m. a shock went through the ship caused by a collision. The Islander, once the presumed unsinkable steel hulled flagship of the Canadian Pacific Navigation Company, struck a submerged rock or iceberg while steaming at 15 knots and went under in less than 20 minutes.
 
The ship left Skagway and hit the iceberg near Douglas Island. In the book of Leonard Delano two possible locations are marked where the collisions could have taken place
 
 
Numerous attempts to salvage the wreck were made, but it was not until 1934 that the remains of the Islander were raised from 300 feet.
Most of the 170 persons on board were lost. With reports of gold on board, talk of salvage began almost immediately, but the depth of the wreck exceeded the limits of contemporary diving equipment. It wasn’t until 1921 that the wreck was discovered in 300 feet of water. It was viewed from a diving bell in 1929, and in 1934 a monumental salvage attempt was undertaken by use of the GRIFFSON and another barge. By cradling the ISLANDER on cables run between the two barges and using extreme tide cycles for lifting, the vessel was moved to the beach.
 
On board of the salvage barge GRIFFSON was a photographer called Leonardo H. Delano. His son Doug Delano wrote a book about this salvage and used the pictures his father made. On this salvage the diving apparatus of Wiley was used to get the pull cables underneath the wreck. A very nice book to read and own can be order through ISBN 13: 978-1-4507-3660-2. It shows amazing pictures of this salvage!
 
 
If you want to read more about the Islander what happened to the ship and why the gold has never been found I would suggest to have a look at the website of Nicolas Messinger who dedicated a page to SS Islander and the missing gold! You find his website here:
http://www.nickmessinger.co.uk/islander.html
 
 
 
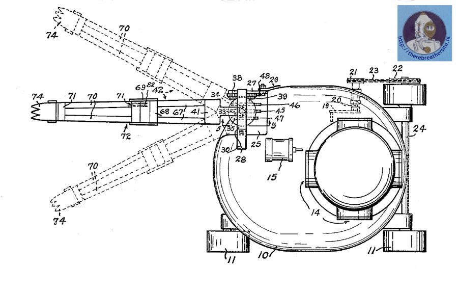
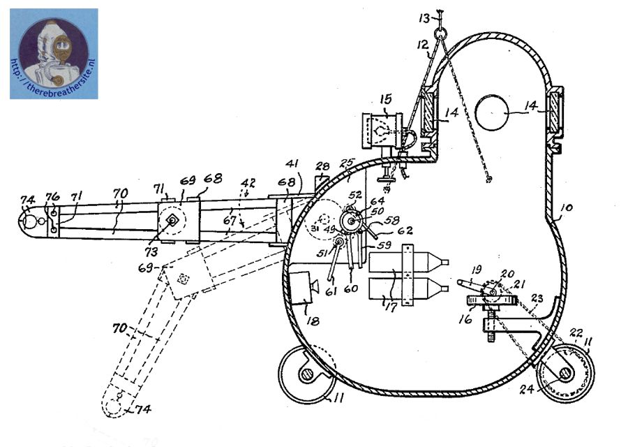
The Wiley "Bell" is not a bell. It is a atmospheric diving apparatus. You could call it a one man submarine. Carl Wiley and his companion inventor Elbert H. Wiley patented their invention in 16-12-1931.  (US 1979782). It was approved in 1934. It used a grab and electric light. Also it could drive on hard surfaces using three steel wheels. Inside on a chair was the operator breathing pure oxygen using a rebreather principle. There invention was shown in a American magazine called popular mechanixs issue October 1931
 
 
 
 
courtesy Popular Mechanics
courtesy Popular Mechanics
courtesy Popular Mechanics
courtesy Popular Mechanics
courtesy Popular Mechanics
In May 2013 Charles Daigneault from Canada send me his absolute fantastic 3-D impressions of this Wiley diving apparatus. Here is his artist impression he allowed me to publish on Therebreathersite. I am very great full to Mr. Daigneault  for his incredible patience in making this for the diving history so important pictures! Thanks CHARLES !!
 
Courtesy Charles Daigneault
Courtesy Charles Daigneault
Courtesy Charles Daigneault
Courtesy Charles Daigneault
Courtesy Charles Daigneault
Courtesy Charles Daigneault
Courtesy Charles Daigneault
Courtesy Charles Daigneault
Courtesy Charles Daigneault
Finally there is a YouTube movie made by Charles Daigneault showing the 3D impression of this great apparatus:

YOUTUBE MOVIE
 
I would like to thank John W, Charles Daigneault and Nick Messinger for there kind cooperation to make this article possible. If you have additional information about the diving apparatus made by Wiley I would very much appreciate if you would sent it to me!

please send your information to: jw.bech@quicknet.nl
         
        22 September 2013
         
Webshop Guestbook mail: jw.bech@quicknet.nl