Submarine Escape
Early submarines had a tendency to sink, and a number of accidents before the First World War made the Admiralty look into the possibility of developing an escape apparatus for use by trapped crews. One of these, designed by Captain S.S. Hall and Fleet Surgeon O. Rees, and manufactured by Siebe Gorman, briefly went into production.
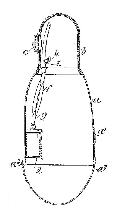
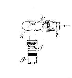
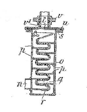
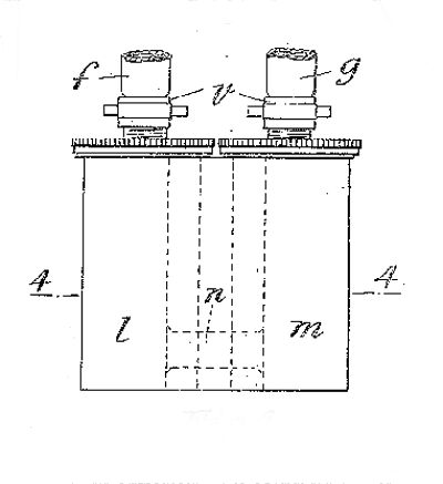
It incorporated a canister containing ‘Oxylithe’, a special chemical which when breathed upon gave off oxygen and absorbed carbon dioxide. In 1903 to 1907 the Swiss Professor Georges Jaubert, invented Oxylithe, which is a form of sodium peroxide (Na2O2) or sodium dioxide (NaO2). As it absorbs carbon dioxide, it emits oxygen. It consisted of a hard helmet and a belted, long-sleeved tunic. Inside the tunic was a canister of sodium peroxide which gave off oxygen while absorbing carbon dioxide. The use of sodium peroxide was an interesting choice as it had a tendency to ignite when wet. The equipment was very bulky and doubts existed about the wearer’s ability to exit through the upper hatch of a submarine when wearing it. Despite its workable design, the Hall-Rees apparatus was phased out - one for each crew member simply took up too much room in a cramped submarine.

 
Sydney Stuart Hall and Oswald Rees residing on HMS Mercury patented their invention in 1908 with US 896447
Professor Georges Francois Jaubert was a Swiss chemist who invented Oxylithe and has numerous patents on his name. Patents related to the oxylithe are for example GB 1907 patent 17242
 
courtesy Royal Navy Submarine Museum
 
courtesy Royal Navy Submarine Museum
 
 
 
 
 
 
 
 
 
 
 
 
If you have additional information about the Hall and Rees escape apparatus please send your info to jw.bech@quicknet.nl
 
 
December 2008
 
Please sign my Guestbook
Email: jw.bech@quicknet.nl

 

Hall and Rees submarine escape apparatus.

 

Although not directly related to atmospheric diving suits, the invention of a rebreather for escape purposes using Oxylithe is worth mentioning here.


Menu Atmospheric suits

Updates

Speedmenu

Search page

Webshop

Home


GO BACK TO
ATMOSPHERIC
DIVING SUITS.

Therebreathersite:
Mainmenu:

 
Search this Website
 Information about RB
 Photo galleries
 Historical Information
 Links & Downloads
 Reviews
 Homebuilders
 Electronics
 Updates, speed menu
 Web shop
 Reviews SC rebreathers
 Reviews CC rebreathers
 RB’s through the ages
 Inspiration rebreather
 Database Oxygen RB’s
 Database Semiclosed RB’s
 Updates
 Speed menu
 Search this web