| Text: courtesy of R.H. Davis |
|
Here you can read Gordon full patent text:
here |
|
|
![]() |
![]() |
![]() |
![]() |
![]() |
![]() |
![]() |
| Any additional information welcome! |
| Please sign my Guestbook |
| Email: jw.bech@quicknet.nl |
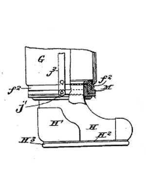
In 1894 Buchanan and Gordon patented a diving dress.
A later
patent, taken out by Gordon alone, embodied various improvements in the
fastening of the flexible material to the standing portions of the dress, such
as the helmet; and it also provided for the use of jointed radius-rods running
along the sleeves and trousers to prevent them from collapsing under pressure,
while leaving them free to flex. This was made in Siebe, Gorman & Co.’s old
works in
