|
Pelkey's patent can be read here: LINK |
|
|
|
During the summer of 1891, Oliver Pelkey made headlines sporting a
diving suit with metal rings designed to support it against water
pressure. Pelkey descended successfully to Pewabic, but on his
second dive, he became entangled in debris and the suit collapsed.
He made headlines a second time when his lifeless body was hauled
from the wreck. |
| Read more about the Pewabic in professional mariner.com here |
![]() |
![]() |
![]() |
![]() |
![]() |
![]() |
| Please sign my Guestbook |
| Email: jw.bech@quicknet.nl |
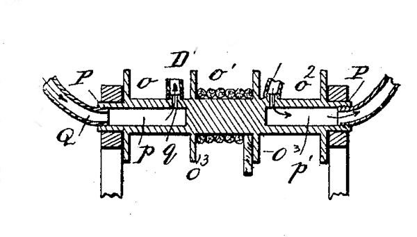
A Design patented in 1889 by
Oliver Pelkey, is of little merit. It is not a completely armoured dress, the
armour (in two portions) only covering the head and trunk. Over this is worn an
ordinary diving-dress, the arms of this, however, being stiffened by long wire
spirals, a device which found much favour with later inventors.
Source: R.H. Davis, deep diving and submarine operations
