![]() |
![]() |
|
|
![]() |
![]() |
![]() |
![]() |
![]() |
![]() |
![]() |
![]() |
![]() |
| Additional information about the MARION device here |
| Additional information about the ELECTROLUNG you find here |
| published 14-5-2009 |
| Please sign my Guestbook |
| Email: jw.bech@quicknet.nl |
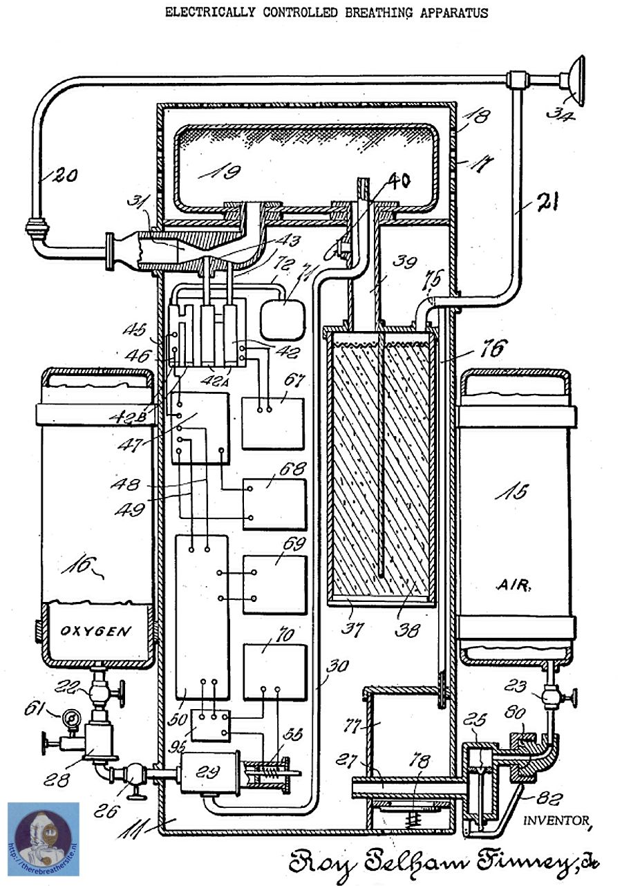
Thanks to Richard Walsby and the kind cooperation of Dr. Finney I am very pleased
to show you the Finney rebreather. It was not the original name
but I thought it was appropriate to give the unit his inventor's name. Dr.
Finney was kind enough to help us with information that could not be found in
the patent. Now here you find the article Richard Walsby wrote and published in
HDT. This publication with the kind permission of Peter Dick of the HDS
