Logo Therebreathersite S-600 G and SS100 cryogenic rebreather RSS feed
 
Donate Home Menu page Search page
Paul Jackman kindly send me this article of a very interesting and old technoly. THX Paul! 07 june 2011

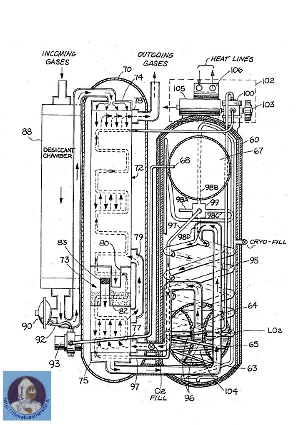
In 1965 Halbert Fischel together with Tony DiChiro and Larry Cushman and Dave Joss designed and tested a cryogenic diving system capable of taking the diver to 307 meters of depth with diving times up to 5 hours. The units used a technology with a cryogenic scrubber system. The energy for reaching these low temperatures was achieved by taking liquid nitrogen during the dive carried in 1 cylinder. The technique is not commonly in use anymore. The russians build a similar design that can be seen here. Please enjoy this great story

 
 
 
 
 
 
 
  Halbert Fischel patented his invention in US 3.807.396  
         
         
         
        07-06-2011
         
Webshop Guestbook mail: jw.bech@quicknet.nl